自考题库
首页
所有科目
自考历年真题
考试分类
关于本站
游客
账号设置
退出登录
注册
登录
出自:专业案例考试
下列关于崩塌形成的说法不一定正确的是()。
A:陡峻的块状和巨厚层状岩石边坡具有与边坡面走向近于平行陡倾结构面时,最容易形成大型崩塌
B:平缓的层状和软硬互层状岩体边坡,所形成的崩塌以小型为主或以危石坠落为主
C:岩体的风化作用、空隙水压力作用、水的楔人作用、冻胀作用及地震和爆破作用都是崩塌发生发展的外部因素
D:在黄土岸坡地段,坡脚受地表流水的淘蚀,也不可能引起岸坡的崩塌
岩体结构是影响围岩稳定性的主要因素之一,下列关于岩体结构方面的有关叙述,
不正确
的是()。
A:岩体是由结构面和结构体组成的地质体,常为节节裂隙面、层面、片理面,甚至为断层面结构面所切割,这些结构面是影响围岩稳定性的重要因素
B:结构面常可分为很多组,根据其成因、充填物及间距、宽度、强度、连续性等情况不同,先分析其对围岩稳定性的影响程度,然后决定洞室位置和洞轴方向
C:在坚硬岩石中,只要考虑岩体结构的影响,可以不考虑围岩应力的影响,地应力影响不大
D:岩质软弱的岩石体和结构面一样,同样是对稳定越控制作用的因素,在应力较大的情况下可引起围岩较大的变形甚至失稳
在1MPa水压力作用下,每米试段内每分钟压入的水量称为()。
A:单位吸水量
B:透水率
C:渗透系数
D:吸水率
根据《水利水电工程地质勘察规范》(GB50487—2008)规定,应在()阶段查明各类水利水电工程建筑物区的工程地质条件,对存在的工程地质问题进行分析评价,为建筑物设计和地基处理方案提供地质资料和建议。
A:规划
B:项目建议书
C:可行性研究
D:初步设计
下面关于对地应力场的分布和变化规律的叙述中,表达
不正确
的是()。
A:垂直应力有随深度线性增加的变化关系
B:水平应力随深度的变化关系比较复杂,一般在地壳浅部,特别是构造活动区,大多数情况水平应力大于垂直应力,这种现象随深度而变化,当达到一定深度后,水平应力开始小于垂直应力。这个转变点的深度称为临界深度,不同地区临界深度不同
C:在地壳深部水平应力与垂直应力也不会趋于一致
D:在深切河谷区的河床底部往往有很大的水平应力,分为应力释放区、应力集中区和应力平衡区
具有下列标志时,可以认为滑坡处于复活阶段,其中
不正确
的是()。
A:边坡各不同部位产生新的裂缝
B:滑坡前缘土体松散,有小坍塌,并处于当前河流的冲刷条件下
C:滑坡体地面潮湿,地下水泉发育,且有新生冲沟
D:山坡表面平整顺直,坡脚没有地下水出露,树木生长较茂盛
开展工程地质测绘工作之前,应编制()。
A:测绘作业计划
B:测绘技术要求
C:测绘任务书
D:测绘工作方法
水库塌岸是各种因素综合作用的结果,()的作用、库水位变化幅度和持续时间、风力和波浪作用等是外因。
A:水和水流
B:雨水
C:地下水
D:洪水
在水利水电工程地质勘察工作中,采用钻孔压水试验方法解决下列哪个具体技术问题将更有效?()
A:确定岩体的透水特性,为坝基防渗帷幕设计提供依据
B:确定岩土体的渗透破坏比降,为防止坝基岩土体产生渗透破坏提供依据
C:查明岩溶泉和岩溶暗河的补排关系,确定库周分水岭地段可能存在的渗漏情况
D:查明坝基覆盖层及全强风化岩的渗透特性,为坝基防渗设计提供依据
某水库近坝库区一滑坡如图所示,滑体形态受几组节理裂隙的控制,可能发生滑坡。
第1题,共2个问题
(单选题)判断滑坡类型是()。
A:切层滑坡
B:顺层滑坡
C:均质滑坡
D:跨层滑坡
第2题,共2个问题
(单选题)影响滑坡发生发展的主要因素,下列各项
不正确
的是()
A:节理切割状况
B:岩体强度,水的作用,开挖震动及地震
C:区域性构造稳定性
D:缓倾结构面及软弱夹层的分布
岩矿基本性质鉴定内容为()。
A:岩(土)的矿物组成、化学成分、矿物的蚀变
B:岩(土)的矿物组成、化学成分、岩石风化程度
C:岩(土)的矿物组成、化学成分、结构、构造
D:岩矿的物理力学性质
在进行农田浸没预测时,壅水前的地下水位应采用()的多年平均水位。
A:丰水期
B:枯水期
C:平水期
D:农作物生长期
钻孔压水试验一般采用()计算得出透水率。
A:最小压力阶段的压力值和相应的流量
B:最大压力阶段的压力值和相应的流量
C:最大流量
D:平均的流量
岩石试件在105~110℃温度下烘至恒量时所失去水的质量与试件干质量的比值称为(),以百分数表示。
A:岩石饱和吸水率
B:岩石含水率
C:岩石饱水系数
D:岩石孔隙率
根据《水利水电工程钻探规程》(SL291—2003)规定,为保证钻探取心质量,要求较破碎的弱风化、微风化岩层岩心采取率应为()。
A:≥70%
B:≥85%
C:≥90%
D:≥95%
采用热释光法研究断层活动性时,常用的样品有()。
A:破碎岩
B:角砾岩
C:糜棱岩
D:断层泥
在潜水含水层进行稳定流或非稳定流抽水试验中,若采用离心泵抽水,其吸水龙头在各次降深中应放在同一深度处,宜放在()处。
A:最大降深动水位以下0.5~1.0m
B:含水层顶板
C:含水层底板
D:含水层中部
地下水的存在及其活动常常使围岩的稳定性恶化,下述说法
不正确
的是()。
A:开挖洞室后,使地下水向洞内汇集,形成新的渗流场,使岩体受到指向洞内的外水压力,导致围岩失稳
B:地下水的活动使岩块和软弱结构面夹层加速侵蚀和泥化,降低了强度,也导致围岩失稳
C:对于水工隧洞来说,内水外渗和外水内渗都会引起山体失稳,从而导致整个工程失稳
D:对于深埋洞室,作用在洞室围岩上的外水压力为洞室高程以上的全部地下水水头压力
在工程地质勘察中,应用勘探成果不可以()测绘成果。
A:验证
B:补充
C:修改
D:代替
地下洞室工程地质勘察中,在初步设计阶段,各类岩土室内物理力学性质试验组数累计不应少于()组。
A:3
B:5
C:7
D:10
结构面直剪试验的主要目的是测定()的抗剪强度参数和剪应力与剪位移关系曲线,研究其受剪切荷载时的变形特性和破坏规律,为坝基、边坡、地下洞室岩体变形稳定分析提供抗剪参数。
A:混凝土与岩石接触面
B:节理面
C:层面
D:软弱结构面
水库诱发地震的研究和分析预测工作一般分三个阶段进行。第一阶段是在区域构造背景研究和库坝区工程地质测绘的基础上,进行库坝区诱震环境分区,定性评价拟建水库诱发地震的可能性和可能诱震的库段。这阶段工作在工程的()阶段进行。
A:规划
B:项目建议书
C:可行性内容
D:技施
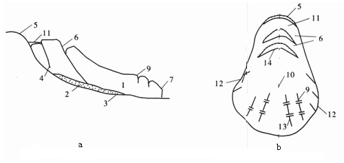
如图所示,下列标示正确的是()。
A:2-滑动带,5-滑坡壁,6-滑坡台阶,11-封闭洼地
B:2-滑坡壁,5-滑动带,6-滑坡台阶,11-封闭洼地
C:2-滑坡壁,5-滑动带,6-封闭洼地,11-滑坡台阶
D:2-滑坡壁,5-滑动带,6-滑坡台阶,11-封闭洼地
如图所示,某水库右岸有一片农田,农田的高程在270m左右,农田与水库间有一小溪,小溪水位高程约260m,水库正常蓄水位254m。水库和农田间下部为透水比较强的中粗砂,上部为黏性土。按图剖面分析,水库蓄水后农田发生()。
A:次生盐渍化浸没
B:涝渍化浸没
C:沼泽化浸没
D:不浸没
在工程地质勘察中,电测井不能用来测试()。
A:含水层的位置、厚度
B:划分咸、淡水分界面
C:岩层电阻率
D:洞室松弛圈的厚度
岩溶发育的基本条件
不包括
()。
A:岩石的可溶性
B:岩石的透水性
C:岩石的抗冻性
D:水的流动性
如图所示,某水库的一段库岸存在邻谷渗漏,渗漏带宽1200m。两谷间的距离为600m,两谷间岩土体的渗透系数为8×10
-2
cm/s,透水层底板高程为120m,邻谷水位高程为200m,水库正常蓄水位高程为280m。这段库岸的渗漏量约为()m
3
/s。
A:5
B:10
C:15
D:20
根据水利水电工程涉及的中强透水层的深度范围及实际的可能用于抽水试验的设备能力,一般在均质含水层厚度()时,试验孔宜采用完整孔结构。
A:小于10m
B:大于10m
C:小于15m
D:大于15m
混凝土粗骨料质量要求,砾石中软弱颗粒含量应小于()。
A:1%
B:2%
C:3%
D:5%
工程地质测绘所用图件的精度和详细程度应与地质测绘比例尺相适应,图上宽度()的地质现象应予测绘。
A:小于2mm
B:大于2mm
C:小于5mm
D:大于5mm
首页
<上一页
1
2
3
4
5
下一页>
尾页