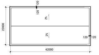
下图是某房屋的平面示意图。室内块料地面设计为:素土夯实;100mm厚C20混凝土垫层;20mm厚水泥砂浆找平;水泥砂浆贴地面砖。踢脚设计为:150mm高水泥砂浆贴地面砖;混凝土台阶,贴地面砖。根据招标文件规定,该工程采用《重庆市建设工程计价定额(2008)》计算规则计算该工程楼地面工程量。

第1题,共2个问题
(多选题)根据《重庆市建筑工程计价定额(2008)》计算规则,整体面层按净空面积以平方米计算,不扣除()所占面积。
A:设备基础
B:0.30m2以内的孔洞所占面积
C:柱所占面积
D:地沟
E:间壁墙
第2题,共2个问题
(多选题)下列按《重庆市建筑工程计价定额(2008)》计算规则计算的工程量,错误的是()。
A:室内净空面积44.51m2
B:室内混凝土垫层4.45m3
C:地面砖工程量为43.96m2
D:地面砖踢脚线5.60m2
E:台阶地面砖工程量为1.92m2