自考题库
首页
所有科目
自考历年真题
考试分类
关于本站
游客
账号设置
退出登录
注册
登录
出自:电气试验工
同一个电荷在电力线较密的地方受到的电场力较大()
听到变压器出现较高的“嗡嗡”和“哼哼”声,此属于变压器()时发出的异常声音。
A:过电压
B:频率波动
C:过电压或频率波动时
D:局部放电
电流互感器瓷套上部温度偏高,温差为2-3K,极有可能是介质损耗增大。
测量泄漏电流是35KV及以上少油断路器的重要试验项目。它能比较灵敏的发现断路器()严重污秽,拉杆、绝缘油、灭弧室()、和()过多等缺陷。
接地保护是保护人身和设备安全的。
测量一台发电机定子绕组漏电抗,已知:发电机额定容量S
N
=25000kVA,额定电压U
N
=6.3kV,定子绕组每相的串联匝数N
1
=10匝,探测线圈匝数N
m
=5匝,定子绕组系数K
N1
=0.98,测量结果如表,试计算发电机定子绕组漏电抗X
1d
。
变压器套管整体绝缘显著降低,能够有效发现缺陷的可能试验项目是()。
A:直流电阻
B:阻抗测量
C:套管绝缘电阻
D:套管介损
当前主要作用于10-60KV的厂、矿变电所的主变,该变压器的连接组别数字为()。
A:8
B:11
C:3
D:5
工作间断时,全部人员应撤离现场,工作票仍由()保存,所有安全措施不能变动。
A:工作监护人
B:工作负责人
C:工作许可人
D:工作票填写人
预防性试验时,换算至与前一次试验同一温度下的绝缘电阻应当无明显变化。
直流高压试验采用高压硅堆作整流元件时,高压硅堆上的反峰电压使用值不能超过硅堆的额定反峰电压,其额定整流电流应大于工作电流,并有一定的裕度。
交流高压试验电压测量装置(系统)的测量误差不应大于1%。
电压互感器、电流互感器的二次线圈,除另有规定外,均应接地或接零。
测量分级绝缘电压互感器一次侧绝缘电阻时必须将一次绕组尾口“X”端()。
A:接地
B:不接地,且不与首端“A”短接
C:不接地,且与首端“A”短接
D:接地,且与首端“A”短接
额定电压220~330kV的油浸式变压器,电抗器及消弧线圈应在充满合格油,静置一定时间后,方可进行耐压试验。其静置时间如无制造厂规定,则应是()。
A:≥12h;
B:≥24h;
C:≥48h;
D:≥72h。
气体放电形式有以()放电为代表的局部放电和间隙绝缘全部被击穿的放电,后一放电形式有辉光放电和()放电两种。
加上直流电压后,电介质的等值电路如图E-50,画出各支路电流变化曲线和总电流i的变化曲线。
新的电极表面存在小毛刺,通过对电极加压进行老炼处理,除去电极表面的小毛刺后,可以()间隙的击穿电压,而且击穿电压的分散性减小。
A:提高
B:降低
C:不改变
用来确定载流导体在磁场中受力方向的定则是()。
A:左手定则
B:右手定则
C:螺旋定则
D:以上答案都不对
当有机绝缘材料由中性分子构成时,不存在偶极子极化,这类材料主要是电导损耗,其中tgδ小。
某交流电压为u=380sin(314t+π/2)伏,此交流电压有效值为()伏。
A:
B:
C:
D:
电场愈均匀,水分等杂质对击穿电压的影响愈大,击穿电压的分散性也愈大。()
变压器感应耐压试验的作用是考核变压器的()强度。
A:主绝缘;
B:匝绝缘;
C:层绝缘;
D:主绝缘和纵绝缘。
变压器按作用分为()。
A:电力变压器
B:特种变压器
C:仪用互感器
D:干式变压器
能将其他形式的能量转换成()的设备叫电源。
A:机械能
B:电能
C:磁能
D:热能
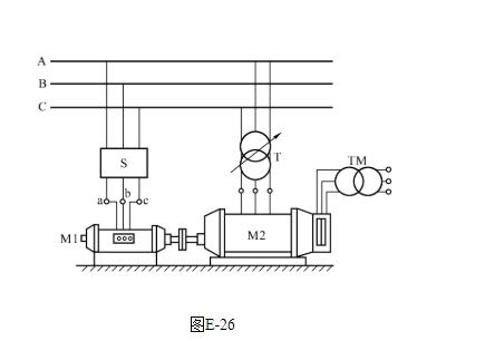
图E-26组合方式是什么试验的电源组合?并写出主要设备的名称。
对现场使用的电气仪器仪表,要有良好的读数装置,被测量的值应能直接读出。()
如果是()负载,要将变频器的转矩运行代码设置成变转矩和降转矩运行特性。
A:风机和泵类
B:恒转矩
C:恒功率
D:线性转矩类
当变压器有()故障时,一般油中溶解气体分析都会出现氢含量增加。
A:失压
B:受潮
C:局部放电
D:过热
用来模拟电力系统中的雷电过电压波,其波前时间T1和半峰值时间T2为()。
A:1.2/5μS
B:2/50μS
C:1.2/50μS
D:5/500μS
首页
<上一页
64
65
66
67
68
下一页>
尾页