自考题库
首页
所有科目
自考历年真题
考试分类
关于本站
游客
账号设置
退出登录
注册
登录
出自:海船船员证
A CO
2
portable extinguisher is annually checked by().
A:reading the gage pressure
B:weighing the extinguisher
C:discharging a small amount of CO
2
D:seeing if the seal has been broken
依MARPOL73/78规定,载重量为()吨及以上的原油油船,均应装有COW系统。
A:10000
B:20000
C:30000
D:2000
GMDSS中的EPIRB功能
不包括
()
A:遇险报警、定位
B:识别、寻位功能
C:船舶通信
当船舶遭遇暴力劫持时,以下做法中不当或不妥的是()。
A:尽量保持平静并尽量避免发生事件,以避免刺激劫船者
B:在任何情况下都必须坚决地和武装劫船者进行抗争
C:使用DSC设备和卫星船站中的“海盗行为/武装抢劫攻击”专门控钮或按键报警
D:劫船者登船后,不用遇险信号进行报警
Reheating a hardening component to a temperature lower than the hardening temperature and then cooling it is known as ()
A:low temperature hardening
B:case hardening
C:annealing
D:tempering
Odorous cargoes are those that().
A:are exceptionally dusty and leave a residue
B:are liquid but are in containers
C:are susceptible to damage by tainting
D:give off fumes that may damage other cargoes
对于PSC有关应变部署表的检查,下面说法正确的是()。
A:船员应知晓应变部署表中为其规定的职责及履行其职责的地点
B:应变部署表规定由船长决定某些关键船员一旦不能工作的替换人
C:应变部署表规定由轮机长决定某些关键船员一旦不能工作的替换人
D:轮机部应变部署表由大管轮负责填写
船舶由深水域驶入浅水域,下述说法正确的是:() Ⅰ、舵力及舵力转船力矩急剧降,舵效变差 Ⅱ、船舶的航向稳定性变差 Ⅲ、船速下降 Ⅳ、船体振动比深水更为激烈
A:Ⅰ、Ⅱ、Ⅲ、Ⅳ
B:Ⅱ、Ⅲ、Ⅳ
C:Ⅲ、Ⅳ
D:Ⅳ
下列有关《海上交通安全法》用语含义的说法,
不正确
的是()。
A:"沿海水域"是指我国沿海的港口、内水和领海以及一切管辖的海域
B:"船舶"是指各类排水或非排水船、筏、水上飞机、潜水器和移动式平台
C:"船舶"是指从事运输的船舶
D:"设施"是指水上水下各种固定或浮动建筑、装置和固定平台
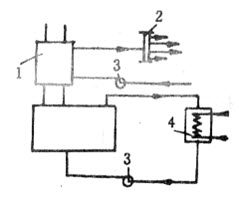
如图船舶余热利用方案简图所示的方案用于()。
A:废气锅炉用于供热系统
B:废气锅炉用于汽轮发电机
C:主机冷却水的热量用于供热系统
D:主机冷却水的热量用于汽轮机低压级
It has never been settled whether delivery of a bill of lading which is marked non-negotiable ()title.
A:translates
B:transfers
C:transports
D:transacts
It’s also essential that we can not()any marks mixed or damage to the cargo.
A:agree
B:adopt
C:check
D:accept
Isobars on a synoptic chart are useful in predicting().
A:temperature
B:dew point
C:wind velocity
D:relative humidity
Denebola is found in what constellation?()
A:Hydrus
B:Leo
C:Centaurus
D:Aquila
The rope which is rove from the truck to be used with a bos’n chair is called a().
A:gantline
B:life line
C:strop
D:whip
大风浪中放艇时,为减少救生艇摇摆而与大船相碰撞,可用:() Ⅰ止荡索Ⅱ碰垫Ⅲ艇篙
A:Ⅰ~Ⅲ
B:Ⅰ、Ⅱ
C:Ⅱ、Ⅲ
D:Ⅰ、Ⅲ
确定安全管理职责的原则和要求是什么?
在MAN B&W ME系列智能柴油机中,用来控制各缸排气阀的电磁阀是一个()。
A:采用双位控制的电磁阀
B:采用比例控制的电磁阀
C:采用比例积分控制的电磁阀
D:采用比例积分微分控制的电磁阀
船舶采用小角度驶离码头时,要求最初的()。
A:车速不宜太小
B:舵角不宣太小
C:车速和舵角均不宜太大
D:车速和舵角均不宜太小
悬挂菱形体号型的甲船,在左舷25°方向看到挂有球、菱形、球号型的乙船驶来,存在碰撞危险,此时:()
A:甲船不应妨碍乙船
B:乙船不应妨碍甲船
C:乙船应给甲船让路
D:甲船应给乙船让路
由于兴波干扰作用,兴波阻力曲线上会出现().
A:首波系和尾波系
B:波阻谷点和波阻峰点
C:横波系、散波系
D:基元波、叠加波
The crankshaft deflection is at first to be () before and after repair.
A:disassembled
B:renewed
C:measured
D:regulated
The original equilibrium position is stable when().
A:metacentric height is positive
B:metacentric radius is positive
C:KG exceeds maximum allowable limits
D:free surfaces are excessive
活塞环与气缸套的拉缸一般都发生在()。
A:柴油机高速运转期
B:柴油机低速运转期
C:稳定运转一定时间后
D:运转初期
The port gang way caught on a()on the wharf and was severely damaged.
A:bollard
B:bitt
C:stem
D:keel
通常下列()系统不是全船性警报系统。
A:火灾自动警报系统
B:烟火探测自动警报系统
C:手动火警按钮和驾驶台警报器等
D:用于机舱施放二氧化碳前通知机舱人员立即撤离的警报系统
Is the pilot ladder all right at this ()
A:high
B:highly
C:heigh
D:height
()the survivors known more of how to cope with cold water in the sinking of MV Titanic in 1912 countless lives().
A:Have/could have been saved
B:Have/could have saved
C:Had/could has saved
D:Had/could have been saved
目前常用的消除电话侧音的电路有()。 Ⅰ、桥式;Ⅱ、补偿式;Ⅲ、并联式。
A:Ⅰ+Ⅱ
B:Ⅰ+Ⅲ
C:Ⅱ+Ⅲ
D:Ⅰ+Ⅱ+Ⅲ
The service life of distress signals must be not more than().
A:forty two months from the date of manufacture
B:thirty six months from the date of the last inspection
C:twenty four months from the date of approval
D:twelve months from the date of purchase
首页
<上一页
612
613
614
615
616
下一页>
尾页