自考题库
首页
所有科目
自考历年真题
考试分类
关于本站
游客
账号设置
退出登录
注册
登录
出自:汽油吸附脱硫(S-zorb)
汽油蒸汽压的降低,会使尾气中的()排放量减少。
A:二氧化硫
B:三氧化硫
C:一氧化碳
D:烃类
在管道系统投入运行之前,应拆去恒力支吊架的锁紧装置,使其处于正常工作状态。
膨胀节主要是通过()的变形达到补偿功能的。
A:护套
B:拉杆
C:弹性元件
D:紧固件
随塔内气速的(),塔盘上气液两相混合程度(),两相接触时间变短,塔板分离下降。
A:增大;增强
B:减小;减弱
C:减小;增强
D:增大;减弱
汽油吸附脱硫装置脱硫反应器属于二类容器。
在再生接收器向闭锁料斗转移吸附剂步骤时,闭锁料斗进行压力调节排出气体排至()。
A:高压瓦斯管网
B:低压瓦斯管网
C:大气
D:氮气管网
润滑油在使用过程中闪点逐渐上升。
正常操作中,装置在()情况下,需要向系统内补充新鲜吸附剂。
A:系统吸附剂藏量较低
B:再生器藏量较低
C:系统吸附剂活性较低
D:收新鲜吸附剂前
关于滚动轴承,下列描述错误的是()。
A:其工作原理是以滑动摩擦代替滚动摩擦
B:基本结构由内圈、外圈、滚动体和保持架所组成
C:通用性强、标准化、系列化程度高
D:需要润滑
反吹阀门开启越快越有利于过滤器的反吹。
当往复压缩机入口压力降低时,压缩机排气量增加。
往复压缩机紧急停机时第一步是()。
A:关入口阀
B:关出口阀
C:按停机按钮
D:压缩机降负荷
反应器过滤器的过滤精度为1.3微米。
再生烟气过滤器损坏会增加吸附剂跑损。
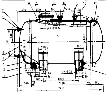
下列对容器图描述中正确的是()。
A:该设备为卧罐
B:该设备由两个人孔
C:该设备为立罐
D:该设备为椭圆封头
吸附剂在高压的反应系统和低压再生系统间循环的关键设备是()。
A:反应器接收器
B:闭锁料斗
C:还原器
D:再生器进料罐
程控阀门开关慢将导致闭锁料斗程序联锁停运。
安装有核料位计的设备有()。
A:还原器
B:再生接收器
C:闭锁料斗
D:原料罐
S-Zorb的原料为催化()。
A:碱洗前的汽油
B:碱洗后的汽油
C:脱硫醇后的汽油
D:分馏的粗汽油
离心泵在运行过程中,快速关小离心泵入口阀门可能导致离心泵发生气蚀。
对稳定塔塔底产品分析,产品蒸汽压较高的原因有()。
A:稳定塔塔顶温度高
B:稳定塔塔底温度低
C:原料蒸汽压高
D:原料蒸汽压低
压缩机无油润滑是指压缩机的传动机构采用自润滑材料,不需要润滑油润滑。
浮头式换热器的浮头盖与浮动管板之间若密封不严,发生内漏,造成两种介质的混合,且不容易被发现。
往复式压缩机属于()。
A:容积式压缩机
B:回转式压缩机
C:动力式压缩机
D:离心式压缩机
正常操作时要控制好反应温度,反应温度的主要调节手段为()。
A:控制加热炉出口温度
B:提高烯烃加氢反应
C:增加原料换热器的换热温度
D:提高循环氢流量
循环氢压缩机检修后氮气置换的目的是()。
A:将气缸内的氢气置换成氮气
B:将气缸内的氮气置换成氢气
C:将气缸内的空气置换成氮气
D:将气缸内的空气置换成氢气
下列选项中,能造成反应器飞温的原因是()。 ①吸附剂活性太高 ②进料温度太高 ③氢油比太高 ④进料汽油含有过量烯烃
A:①②④
B:②③④
C:①②③
D:①②③④
金属密封球阀是指球阀密封付材料配对为()的球阀。
A:非金属对金属
B:非金属对非金属
C:金属对金属
D:金属对非金属
为了防止腐蚀盘管,盘管上水要求PH值为7。
质量空速和空速的概念是一样的。
首页
<上一页
52
53
54
55
56
下一页>
尾页