自考题库
首页
所有科目
自考历年真题
考试分类
关于本站
游客
账号设置
退出登录
注册
登录
出自:变电检修工
已知一个油桶的直径D为1.5m,高h为2m,该油桶已装体积V
2
为1m
3
的油,求此油桶内还能装多少体积的油(保留小数点后两位)?
绘制10kV在室内用螺栓直接固定铝排母线的安装图,并说出各元件名称。
安装互感器时,密封检查合格后方可对互感器充SF6气体至额定压力,静置()h后进行SF6气体微水测量。气体密度表、继电器必须经校验合格。
A:1
B:2
C:12
D:24
以下对标示牌的使用正确的是()。
A:一经合闸即可送电到施工设备的隔离开关操作把手上应悬挂“在此工作!”标示牌
B:施工地点临近带电设备的遮拦上应悬挂“止步,高压危险!”标示牌
C:工作人员可以上下的爬梯-铁架上悬挂“从此上下!”标示牌
为防止误操作,高压电气设备都应加装()。
A:监视装置
B:防误操作的闭锁装置
C:自动控制装置
D:机械锁
使用绝缘电阻表(摇表)测量绝缘电阻时,应注意哪些事项?
收音机使用的纸质电容器两极间的距离l=0.05mm,两极间的电场是均匀电场,求当电容器两极的电压U=400V时,两极间的电场强度E。
变压器套管法兰螺丝紧固时,不需要沿圆周均匀紧固。
在一电阻电路中,如果电压不变,当电阻增加时,电流也就增加。
在重合闸投入时,运行中线路故障跳闸而重合闸未动作,可不经调度同意,立即()重合一次。
有一线圈与一块交、直流两用电流表串联,在电路两端分别加U=100V的交、直流电压时,电流表指示分别为I
1
=20A和I
2
=25A,求该线圈的电阻值和电抗值各是多少?
钢丝绳直径d为39mm,用安全起重简易计算公式计算允许拉力为多少?
《电业安全工作规程》电气设备的高压和低压如何划分()。
A:高压:对地电压在250V以上者
B:低压:对地电压在250V及以下者
C:高压:对地电压在1000V及以上者
D:低压:对地电压在1000V以下者
全部停电的工作,系指室内高压设备全部停电(包括架空线路与电缆引入线在内),以及室外高压设备全部停电(包括架空线路与电缆引入线在内)。
变压器出现()异状时应立即停电处理。
A:内部音响很大,有爆裂声
B:油枕或防爆管喷油
C:套管有严重的破损和放电现象
D:在正常负荷和冷却条件下,变压器温度不正常且不断上升
E:过负荷
国标规定SF6气体新气的徽水应小于()ppm。
A:5;
B:8;
C:15;
D:30。
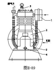
说出压缩机安装示意图中各元件名称。
滑块式连杆机构可以分为曲柄滑块机构与摇臀滑杆机构两类
已知三盏灯的电阻R
A
=22,R
B
=11,R
C
=5.5,三盏灯负荷按三相四线制接线,接在线电压UL为380V的对称电源上,求三盏灯的电流I
A
、I
B
、I
C
各是多少?
SF
6
气体断路器含水量超标时,应将SF
6
气体放净,重新充入新气。
35kV多油断路器的大修周期一般为每()年进行一次。
A:2年内
B:2~4年
C:3~5年
电抗器有什么用途?是怎样分类的?
对断路器的合闸接触器如何检修?
用一只内电阻R1为1800Ω,量程Ul为150V的电压表来测量U2=600V的电压,试问必须串接多少欧姆的电阻?
如下图所示的三视图的立体图是()。
A:
B:
C:
D:
做好图纸资料的管理是班组技术管理的任务。
表面粗糙度值的单位是um。
中性点经消弧线圈接地的系统发生单相接地故障时,中性点对地为()。
A:零
B:相电压
C:线电压
D:直流电压
双电源线路同期合闸的条件是:两端电源的()相同、两端电源的()相同、两端电源的()相同。
低压回路工作前不必验电。
首页
<上一页
36
37
38
39
40
下一页>
尾页