自考题库
首页
所有科目
自考历年真题
考试分类
关于本站
游客
账号设置
退出登录
注册
登录
出自:硫磺回收装置操作工
纤维状保温材料吸收外来的水分后,其导热系数会()。
A:上升
B:下降
C:没有变化
D:无法确定
二氧化硫对人体有哪些危害?
简述滚动轴承的结构和其失效形式有哪些?
硫化氢中毒的症状及急救办法?
DCS系统的控制面板中,“AUTO”的含义是()。
A:回路出错
B:回路在手动控制
C:回路在自动控制
D:回路在串级控制
蒸汽试压时要注意低点()。
A:排凝
B:放气
C:关闭
D:保护
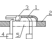
是FI浮阀的侧面示意图,图中3表示正确的是()。
A:塔板
B:定位片
C:底脚
D:阀孔
克劳斯反应属于(),有机硫水解为()。
烘炉主要目的为脱()、脱()。
在高温时,下列物质发生分解反应,但
不属于
氧化-还原反应的是()。
A:碘化氢
B:碳酸钙
C:氯酸钾
D:高锰酸钾
下面条件中哪一个不利于硫的生成()。
A:提高反应器温度
B:降低反应器温度
C:降低硫分压
催化剂的活性稳定时间即为催化剂的寿命。
爆炸的破坏作用的大小与哪些因素有关?
一般情况下一级反应器床层温度要比二级反应器床层温度高的原因是在一级反应器床层发生克劳斯反应的硫化氢和二氧化硫浓度较高,反应放出的热量大。
进行气密性试验时要()本单元与其他单元的一切联系。
A:检查
B:保持
C:切断
D:部分保持
石蜡的牌号是按()区分的。
A:熔点高低
B:软硬程度
C:结晶体形状
给定值是工艺上希望被调参数所保持的数值。
风机出口一段管线有消声器,其作用是()。
克劳斯尾气中硫化氢含量升高的原因是()。
A:酸性气中硫化氢含量上升
B:克劳斯催化剂活性下降
C:配风比高
D:克劳斯反应器床层温度高
反应炉主空气流量采用()控制。
A:前馈
B:比值+串级
C:分程
D:反馈
急冷水温度高的原因,以下哪项
不正确
的是()。
A:急冷水量大
B:急冷水冷却器冷却效果差
C:急冷水过滤效果差
D:循环水量小
全面质量管理的基本方法是PDCA工作循环法。
蒸汽蒸塔好以后,()自然通风以后,联系采样分析,分析塔、容器内气体的烃含量、硫化氢含量、氧含量,合格后才能将塔所有人孔打开。
A:中间人孔
B:封上顶人孔
C:开底人孔
D:开顶人孔
含氨介质管道的颜色为是()。
A:黑色
B:深绿
C:中黄
D:海蓝
换热器排管时,()排列可在相同壳径内排更多的管子。
A:正方形排列
B:正三角形排列
C:正方形错列
风机启动前除进行外部检查、内部检查、电气仪表检查外,还必须检查()系统、()系统是否投用,和检查()状况是否灵活。
在常温下硫磺的状态是固态。
从哪几个方面判断胺液质量下降?
简述克劳斯工段生产的原理?
吸收剂MDEA和MEA、DEA相比有何优越性?
首页
<上一页
32
33
34
35
36
下一页>
尾页