自考题库
首页
所有科目
自考历年真题
考试分类
关于本站
游客
账号设置
退出登录
注册
登录
出自:基础考试
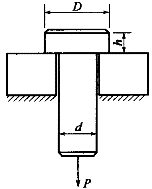
如图所示,插销穿过水平放置平板上的圆孔,在其下端受有一拉力P,该插销的剪切面积和挤压面积分别为:()
A:A
B:B
C:C
D:D
应用安培环路定律∮
L
HdL=∑I,半径为R的无限长载流圆柱导体的磁场经计算可以得出()。
A:在其外部,即r>R处的磁场与载同等电流的长直导线的磁场相同
B:r>R处任一点的磁场强度大于载流长直导线在该点的磁场强度
C:r>R处任一点的磁场强度小于载流长直导线在该点的磁场强度
D:在其内部,即r<R处的磁场强度与r成反比
水准测量是测得前后两点高差,通过其中一点的高程,推算出未知点的高程。测量是通过水准仪提供的下列哪一项测得的?()
A:铅垂线
B:视准轴
C:水准管轴线
D:水平视线
为得到更有代表性的土工合成材料性能指标值,许多试验要求多个试样的平行测定,然后求出算术平值作为检测结果。
岩体的基本质量由岩石的坚硬度和岩体的含水率决定。
对相同的软土地基,相同尺寸的高压旋喷桩的承载力小于水泥搅拌桩的承载力。
采用分层总和法计算软土地基沉降量时,压缩层下限确定的根据是:()
A:σ
cz
/σ
z
≤0.2
B:σ
z
/σ
cz
≤0.2
C:σ
z
/σ
cz
≤0.1
D:σ
cz
/σ
z
≤0.1
分别在四杯100ccm
3
水中加入5g乙二酸、甘油、季戊四醇、蔗糖形成四种溶液,则这四种溶液的凝固点:()
A:都相同
B:加蔗糖的低
C:加乙二酸的低
D:无法判断
钻孔取芯不可以得出桩的承载力。
作用水头相同时,孔口的过流量要比相同直径的管嘴过流量:()
A:大
B:小
C:相同
D:无法确定
沿程水头损失h
f
:()
A:与流程长度成正比,与壁面切应力和水力半径成反比
B:与流程长度和壁面切应力成正比,与水力半径成反比
C:与水力半径成正比,与流程长度和壁面切应力成反比
D:与壁面切应力成正比,与流程长度和水力半径成反比
直径为d的圆形对其形心轴的惯性半径i等于:()
A:d/2
B:d/4
C:d/6
D:d/8
在A、B两点连接绳索ACB,绳索上悬挂重物F
w
,如图所示。点A、B的距离保持不变,绳索的许用拉应力为[σ]。试问:当α角取何值时,绳索的用料最省?()
A:0°
B:30°
C:45°
D:60°
在土体的现场荷载试验中,试坑宽度应大于承压板直径或边长的()倍。
A:1
B:2
C:3
D:5
应用最为普遍、技术最为成熟的地应力测试方法为()。
A:千斤顶法
B:钻孔套心应力解除法
C:表面应力恢复法
D:水压致裂法
温度为10℃时水的运动粘性系数为1.31×10
-6
m/s,要保持直径25mm的水管管中水流为层流,允许的最大流速为:()
A:1.00m/s
B:0.02m/s
C:2.00m/s
D:0.12m/s
对图示体系作几何组成分析时,用三刚片组成规则进行分析。则三个刚片应是:()
A:△143,△325,基础
B:△143,△325,△465
C:△143,杆6-5,基础
D:△352,杆4-6,基础
按土的工程分类,坚硬状态的粘土是指下列中的哪种土?()
A:I
L
≤0,I
P
>17的土
B:I
L
≥0,I
P
>17的土
C:I
L
≤0,I
P
>10的土
D:I
L
≥0,I
P
>10的土
对建设项目进行财务现金流量分析时,若采用的折现率提高,则该项目:()
A:净现金流量减少,财务净现值减小
B:净现金流量增加,财务净现值增加
C:净现金流量减少,财务净现值增加
D:净现金流量不变,财务净现值减小
与普通螺栓连接抗剪承载力无关的是:()
A:螺栓的抗剪强度
B:连接板件的孔壁承压强度
C:连接板件间的摩擦系数
D:螺栓的受剪面数量
正常工作条件下,若薄壁小孔口直径为d,圆柱形管嘴的直径为d
2
,作用水头H相等,要使得孔口与管嘴的流量相等,则直径d
1
与d
2
的关系是:()
A:d
1
>d
2
B:d
1
C:d
1
=d
2
D:条件不足无法确定
弹性平板上有两条平行,且与水平线夹角为α的斜直线,ab和cd。当平板两端作用均布拉应力σ,平板变形后,它们的关系为:()
A:ab∥cd,α角减小
B:ab∥cd,α角不变
C:ab∥cd,α角增大
D:ab不平行于cd
下面对明渠均匀流的描述哪项是正确的:()
A:明渠均匀流必须是非恒定流
B:明渠均匀流的粗糙系数可以沿程变化
C:明渠均匀流可以有支流汇入或流出
D:明渠均匀流必须是顺坡
强夯法有效加固深度主要取决于()
A:夯锤体积
B:夯锤落距
C:夯锤质量
图示排架,已知各单柱柱顶有单位水平力时,产生柱顶水平位移为
,D为与柱刚度有关的给定常数,则此结构柱顶水平位移为:()
A:A
B:B
C:C
D:D
在基坑开挖中,为了减缓或避免地下水的渗透变形和渗透破坏,施工中常采用的方法为()
A:在基坑周围打入钢筋混凝土灌注桩
B:在基坑周围打入止水帷幕
C:在基坑周围采用锚杆护坡
D:在基坑周围采用土钉墙护坡
设函数f(x)在[-a,a]上连续,下列结论中哪一个是错误的?()
A:A
B:B
C:C
D:D
具有任意断面形状的均匀流的沿程水头损失h
f
有以下哪些特性?()
A:与流程长度成正比,与壁面平均切应力、水力半径成反比
B:与壁面平均切应力成正比,与流路长度、水力半径成反比
C:与流路长度、水力半径成正比,与壁面平均切应力成反比
D:与流路长度、平均切应力成正比,与水力半径成反比
图示封闭容器,下部为水,上部为空气。容器上装有U形水银测压计,其中1、2、3点位于同一水平面上,则其压强关系为()。
A:p
1
<p
2
<p
3
B:p
1
>p
2
>p
3
C:p
2
<p
1
<p
3
D:p
2
=p
1
=p
3
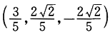
设已知点A(1,0,
)和B(4,2
,
),则方向和一致的单位向量是()。
A:
B:
C:
D:
首页
<上一页
21
22
23
24
25
下一页>
尾页