自考题库
首页
所有科目
自考历年真题
考试分类
关于本站
游客
账号设置
退出登录
注册
登录
出自:考研
标准平键联接的承载能力,通常是取决于()
A:轮毂的挤压强度
B:键的抗剪强度
C:键的弯曲强度
D:键工作表面的挤压强
简述社会再生产的核心问题?
《中共中央关于全面深化改革若干重大问题的决定》明确指出:限期实行行业协会商会与行政机关真正脱钩,重点培育和优先发展行业协会商会类、科技类、公益类、慈善类、城乡社区服务类社会组织,发挥各类社会组织的积极作用,可以( )。
A:增强公民对社会的认同感
B:降低政府治理成本
C:扩大政府管理权限
D:提高社会治理水平
简述唯物史观与唯心史观的对立?
1843年,魏源编成《海国图志》。他在书中写道:"是书何以作?曰为以夷攻夷而作,为以夷款夷而作,为师夷长技以制夷而作。"魏源所说的夷之"长技"主要是指西方的()
A:民主和政治制度
B:教育和人才培养
C:军事和科学技术
D:宗教和思想文化
简述定性评价与定量评价相结合
如将轴类零件按受力方式分类,可将受()作用的轴称为心轴,受()作用的轴称为传动轴,受()作用的轴称为转轴,自行车的后轮轴是()轴。
把党和国家的工作重点由以阶级斗争为纲转移到经济建设上来,是党的()。
A:十一大
B:1978年中央工作会议
C:十一届三中全会
D:十一届六中全会
机械零件由于某些原因不能()时称为失效
A:工作
B:连续工作
C:正常工作
D:负载工作
阐述中国特色社会主义的主要内容。
某资本家经营的企业通过改进技术、提高劳动生产率,使其生产商品花费的劳动时间比社会必要劳动时间少10%,由此形成商品个别价值低于社会价值的那部分是()
A:超额m
B:绝对m
C:相对m
D:m
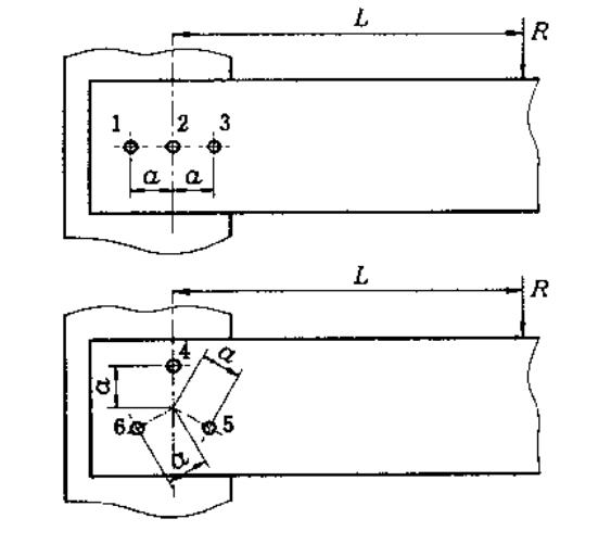
计算题:一螺栓组联接的两种方案如图所示,已知外载荷R,L=300mm,a=60mm,求: 1)螺栓组在两个方案中受力最大螺栓的剪力各为多少?(剪力以R的倍数表示)(可用计算法或作图法求) 2)分析哪种方案好,为什么?
简述加强社会主义法制建设?
教学目标具体化、量化,可观察、测量,可作为评价的依据。
若具有n个结点的非空二叉树采用二叉链表作为存储结构,则链表中一共有n+1个指针域存放NULL。请写出该结论的推导过程。
在全面深化改革中,我国提出了一系列放活民间投资的普惠政策,如保障民企平等使用土地、减免税收,扩大民间投资在电网、电信、铁路等非竞争性领域的参与力度等。实施这些政策的目的是()
A:保证各种所有制经济依法平等使用生产要素
B:鼓励所有民企建立现代企业制度
C:保证各种所有制经济公平公正参与市场竞争
D:允许各种所有制经济实行企业员工持股
邓小平指出:“我们的生产力发展水平很低,远远不能满足人民和国家的需要,这就是我们目前时期的主要矛盾,解决这个主要矛盾就是我们的中心任务。”这段话强调的是()
A:社会主义的根本任务是解放、发展生产力
B:社会主义的根本目的是共同富裕
C:社会主义的首要的基本理论问题是“什么是社会主义,怎样建设社会主义”
D:社会主义的主要矛盾是经济发展水平不均衡
评价社会主义条件下生产资料所有制结构是否优越的标准是()
A:是否符合公有化程度不断提高的要求
B:是否适合生产力发展的要求
C:是否适合上层建筑的要求
D:是否适应生产关系的要求
下列各种机械设备中,()只采用滑动轴承。
A:蒸汽机车车轮支承
B:内燃机车车轮支承
C:电力机车车轮支承
D:汽车车轮支承
1992年初,邓小平在南方谈话中指出:“社会主义的本质是,解放生产,发展生产力。消除剥削,消除两极分化,最终达到共同富裕。“这一概括对社会主义传统认识的突破主要体现在( )。
A:破除了脱离生产力水平抽象谈论社会主义的认识
B:否定了社会主义必须坚持公有制和按劳分配原则的认识
C:摆脱了长期以来忽视建设社会主义根本目的和目标的认识
D:纠正了把社会主义本质等同于社会主义具体做法的认识
已知长度为n的非空顺序表A[0..n-1],请写一算法,该算法删除表中重复出现的数据元素。
搞好整个国有经济,必须坚持的方针是()。
A:产权清晰、权责明确、政企分开、管理科学
B:把改革同改组、改造、加强管理结合起来
C:抓大放小,对国有企业实施战略性改组
D:鼓励兼并、规范破产、下岗分流,减员增效和实施再就业工程
2013年6月6日,《财富》全球论坛首次在中国西部内陆城市成都举行。这次论坛以“中国的新未来”为主题,集中讨论了中国西部发展对中国未来发展的重要意义。“优先推进西部大开发”是党的十八大提出的重大战略部署,把西部大开发放在区域发展总体战略的优先位置,是因为西部发展有利于()
A:扩大国有资本在西部地区社会总资产中的比重
B:增强西部地区的经济实力
C:缩小区域发展差距
D:形成优势互补、良性互动、协调有序的区域发展格局
对于高速重载的套筒滚子链传动,应选用节距()的()排链,对于低速重载的套筒滚子链传动,应选用节距()的链传动
概要设计主要是把各项()转换成系统的()。
在下列四种型号的滚动轴承中,()必须成对使用。
A: 深沟球轴承
B: 圆锥滚子轴承
C: 推力球轴承
D: 圆柱滚子轴承
简述学校课余体育训练的目标
体育教学原则体系的构成、依据和标准及在体育教学中如何贯彻?
一个零件的磨损大致可以分为()磨损,()磨损,()磨损三个阶段,在设计或使用时,应力求(),(),()。
若x、i、j和k分别是int类型的变量,则计算表达式x=(i=4,j=16,k=32)以后,变量x的值是()。
A:4
B:16
C:32
D:52
首页
<上一页
14
15
16
17
18
下一页>
尾页