自考题库
首页
所有科目
自考历年真题
考试分类
关于本站
游客
账号设置
退出登录
注册
登录
出自:安全生产知识竞赛
风险管理制度规定,特种作业中属于较大风险()。
A:剧毒品
B:带压堵漏、在运行主设备、重要辅助设备上作业
C:机炉电主保护投退、五防闭锁退出
D:有毒品、腐蚀品、强氧化物、有机过氧化物
调度人员必须具有生产实践经验,熟悉本企业生产人过程。
根据《生产安全事故报告和调查处理条例》,事故调查处理应当坚持()的原则。
A:公正公开、实事求是
B:实事求是、尊重科学
C:尊重科学、公正公开
D:安全第一、预防为主
为什么矿井监控系统性能要求不同于一般工业监控系统?
若发现电动工具有问题,作业人员应()
A:停止使用,报告主管安排修理
B:自行试图修理
C:停止使用,放回原处
三脚电线插头之蓝色电线是代表?()
A:回路线
B:水线
C:火线
为什么电机车压缩空气系统必须装调压器?
进风井口必须布置在()不能侵入的地方。
A:粉尘
B:有害气体
C:高温气体
D:洒水
在煤气设备检修时,在防火防爆区域检修应尽量在现场动火作业,减少拆卸转移设备,可避免设备回装的麻烦,能减少拆卸和搬运的时间浪费,可提高工作效率。
安全生产监督管理部门和负有安全生产监督管理职责的有关部门在必要时可以越级上报事故情况。
综采工作面如遇老顶冲击来压,可能将支架(),发生顶板事故。
A:压死
B:压坏
C:压入底板
D:插入顶板
煤矿生产的五大灾害是什么?
心式水泵的工作部件有哪些?
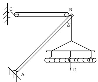
计算题:如图1所示为带电作业用抱杆起吊绝缘子串示意图。已知绝缘子串和吊瓶架的总重量G=2000N,抱杆与铅垂线交角α=45°。画出受力分析图并求滑车组BC受到的拉力和抱杆AB受到的压力分别是多少?(抱杆和滑车组重量忽略不计,A点为绞连。)
井串车提升的选择计算包括哪些内容?
主井提升设备主要用于提升()和()。
为什么秒或半秒延期电雷管不能用于瓦斯或煤尘危险的采掘工作面?
拉紧装置应装设极限位置限止器。自动拉紧装置起升到极限位置时,必须保证(),()。当下降到极限位置时,保证(),()。
发现矿井有透水征兆时,应当立即停止受水害威胁区域内的采掘作业,撤出作业人员到安全地点,采取有效安全措施,分析查找透水原因。
炮采工作面()工序应避免相互干扰,最好将两道工序安排在不同班中作业。
A:移输送机
B:回柱
C:装煤
D:爆破
放炮员在井下如何保管爆破材料?
以下消防安全规则正确的是什么?()
A:根据个人经验来防火,不需要普及消防知识,防火安全意识
B:消防工作贯彻“预防为主,防消结合”
C:需要动用明火作业,必须办理动火证明
事故隐患查出渠道有()业务科室管理人员下井检查、各基层单位自查、小班安检工汇报等。
A:上级检查
B:集团公司检查
C:矿组织的各类检查
D:职工举报
变电站中变压器损坏属电网事故。
在提升速度大于3m/s的提升系统内,必须装设什么装置。
如何确定巷道煤尘的冲洗周期?
三不伤害的原则是指不伤害自己、不伤害别人、不被他人伤害。
班组安全管理常用的方法有哪些?
下列哪些电器属于大学生宿舍不能使用的违章电器()
A:电脑
B:电吹风
C:热得快
D:电水壶
正常汽轮机油的颜色是()。
A:淡黄色;
B:淡黄色稍黑;
C:乳白色;
D:无色。
首页
<上一页
115
116
117
118
119
下一页>
尾页